Our basic street lighting pole Manufactured with high strength parameters and complying with BS:EN 40-7, BASICPOLE columns are available in a wide range of RAL colours.

Ideal for decorative street lights and garden lighting DECORPOLE incorporates a decorative base, providing an elegant silhouette to blend in with classic architecture.

PASSIVEPOLE is a passive safe composite column. The safety rating of the passivepole is 70 NE 2

DESIGNPOLE offers a ground-breaking opportunity for customisation with the addition of graphic images directly to the lighting column, protected from damage by the outer gel coat. DESIGNPOLE can also be illuminated from within, providing attractive landscaping features and a supplementary light source.

SMARTPOLE offers adaptability and additional functionality.
These bespoke columns can be adapted into user-friendly pedestrian crossing points, intelligent public information points or Wi-Fi hubs.

Our lighting columns accept all standard brackets and luminaires, with a top diameter of 60mm.
We can source and supply a wide range of brackets and luminaires – the illustrations here are examples from a wide choice of possible brackets. Contact us for details.
KMSKPF



KMSKPW

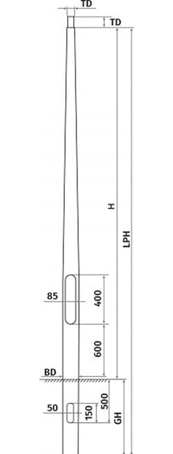
Our lighting columns can be installed either directly in the ground (root mounted) or on a flange base. A range of factors can affect the mounting type decision, including wind loading calculations, durability, ease of installation and the need to access the top of the column regularly. We can assist in designing the most suitable column for each application.
Without the need for a pre-prepared concrete and metal foundation, there is no risk of electrical conduction to nearby structures or people, making root mounting a great choice for public areas, especially those accessed by children on a regular basis such as parks.
Root mounted columns are installed into a suitably sized hole or socket in the ground, which is then back-filled. Alternatively, they can be installed into a socket prepared in the ground, slightly larger than the column diameter and then back-filled.

In some areas root mounting is not suitable for lighting columns and a flange base can be used instead. This involves a concrete foundation and hence a longer installation time, but can be particularly useful in built-up areas including rail platforms, multi-storey car parks and parapets.

Hinged base options are available upon request.

Standard column brackets are available in aluminium


